
120mm标准仪表安装
贝特-智能仪表直供厂家
|
量程范围 |
0~40MPa/0-100m |
精度等级 |
0.5% |
|
过载能力 |
200% |
压力类型 |
表压/液位 |
|
稳定性 |
≤0.1% /年 |
电源电压 |
220VAC/24CDC |
|
显示方式 |
0.56"数码管 |
显示范围 |
-1999~9999 |
|
环境温度 |
-20℃~70℃ |
相对湿度 |
≤80% |
|
安装螺纹 |
M30*1.5 |
材质 |
不锈钢 |
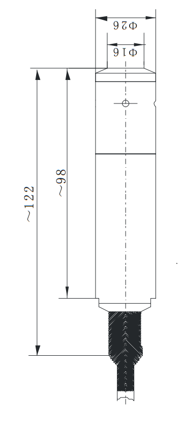
外形尺寸

安装连接
机械连接:
它可以通过压力管接头(M20*1.5)(其他尺寸接头可在订货时说明)直接装在液压管路上。在关键应用场合(如剧烈震动或冲击), 压力管接头可以通过微型软管进行机械解耦。液位产品按照法兰固定。
注:量程小于100KPa时垂直安装.
电气连接:
为了防止电磁干扰的影响应注意以下事项:
●线路连接尽量短,采用屏蔽线
●尽量避免直接接近引起干扰的用户装置或电器和电子装置的接线
●若用微型软管安装,壳体单独接地
一、设置功能
输出: 有四路开关量输出。相应的输出会在开关点的吸合值到达时切换并 在压力下降到低于释放值时回 复。
设置开关点
AL1H此值为开关1吸合值
AL1F此值为开关1释放值
AL2H此值为开关2吸合值
AL2F此值为开关2释放值
AL3H此值为开关1吸合值
AL3F此值为开关1释放值
AL4H此值为开关2吸合值
AL4F此值为开关2释放值
BASE此值为基值.
FILT此值为显示滤波值.
END 保存退出
显示值=基值+测量值,所以设置了基值以后控制值按照显示值来设定 .
注:开关点由吸合值和释放值组态决定,吸合值大于释放值时为上限报警输出(常开功能),吸合值小于释放值时为下限报 警输出(常闭功能)吸合值与释放值的差值为开关点的回差。
例:要设定开关点1为上限报警输出(常开功能)在4Mpa
吸和,小于3.95Mpa断开,;开关点2为下限报警输出(常闭功能) 在 10Mpa断开,低于9.95Mpa吸和:进入菜单:设定
AL1H=4.00 AL1F=3.95
AL2H=9.95 AL2F=10.00
●按下“SET”键
●显示“LOCK” (提示输入密码)
●按▲或▼键输入密码“1”,
●按下“SET”键确认
●按▲或▼键上翻或下翻进行菜单选择(AL1H、AL1F、AL2H、AL2F、、、、、END)
●按下“SET”键进入所选菜单。
●按▲或▼键更改设置
●按下“SET”键确认,若需要,再用▲或▼键选择其他菜单进行修改。
●修改完成后选择“END”菜单,按“SET”键确认保存退出
●若30秒无键按下,则自动退出设置状态,但是不保存所修改的数据。
一、使用须知:
1. 仪表储藏与使用适宜在环境温度为-20℃~70℃ ,现对湿度小于80%的场合.
2. 仪表连接电源时应参照5.2电气连接进行操作,在确认操作无误后方可接通电源进行运行.
3. 拆卸仪表时,不可对仪表壳体施力。
二、质保
用户在遵守使用和保护规则条件下,仪表自出厂日期起保修一年. 一年后修在本公司进行。本公司随时欢迎用户来函、来电咨询及提出建议。